無菌屏障系統不透氣材料測試參考標準
無菌屏障系統是無菌器械安全性和有效性的基本保證。而微生物屏障是在考慮了滅菌過程、搬運、運輸及貯存等條件后所測試的無菌屏障系統防止微生物進入的性能。通常來講,醫療器械常用的無菌屏障系統分為兩大類:透氣材料和非透氣材料。

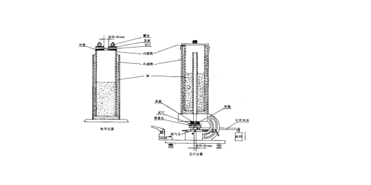
不透氣材料包括但不限于塑料薄膜、塑料托盤(吸塑盒,注塑盒等)、鋁塑膜等,針對不透氣材料,需要通過規范的試驗方法來證實材料的不透氣性,就意味著材料滿足微生物屏障性能要求。標準ISO 11607 附錄C (GB/T 19633.1 給出了不透氣材料阻氣體通過的試驗方法。)無菌屏障系統的不透氣材料應按ISO 5636-5:2003中規定的葛爾萊(Gurley)法進行透氣性試驗。
——責任編輯:英碩包裝
版權所有http://www.sxjzgjy.cn轉載請注明出處
相關推薦:
最新產品
同類文章排行
- 醫療器械產品規格型號多?醫用吸塑盒兼容設計幫您節省成本
- 無菌屏障系統不透氣材料測試參考標準
- 不同維度來了解醫用吸塑盒與普通吸塑盒的差別
- 醫用硬質吸塑盒的材質選擇簡述
- 醫療器械包裝驗證的內容和方法參考
- 最終醫療器械包裝評審需注意些什么?
- 醫用吸塑盒設計過程當中,應當注意些什么?
- 醫療器械常見的包裝方式醫用硬質包裝加蓋材
- 如何給醫療器械選擇合適的包裝
- 關于醫療包裝定制PET能否與特衛強熱封的問題
最新資訊文章
您的瀏覽歷史







粵ICP備14050553號-1